
Descripción del producto
El anclaje para tubería es un dispositivo que se utiliza para asegurar tuberías o ductos de petróleo, generalmente en la industria del petróleo y el gas. Su función principal es evitar que la tubería se mueva o se deslice durante la instalación, el uso o el mantenimiento, garantizando así su estabilidad y seguridad. Previene el deslizamiento de la tubería, reduce el desprendimiento del empaque, las fallas de la sarta y la pérdida de carrera de la bomba causada por el deslizamiento de la tubería.
Principales tipos de anclajes para tuberías petroleras
Anclaje mecánico para tubería: Fija la tubería dentro de la tubería de revestimiento o pozo mediante dispositivos mecánicos como abrazaderas, resortes, etc. Los anclajes mecánicos comunes para tubería incluyen los de compresión y los de tensión.
Propósito: Se conecta a la parte inferior del empacador, sirviendo como punto de apoyo inferior para la columna de tubería y se utiliza para fijar el empacador. Supera el empuje descendente generado por la presión superior del empacador. La deposición de cera es estricta. No es adecuado para pozos petroleros pesados o inactivos.
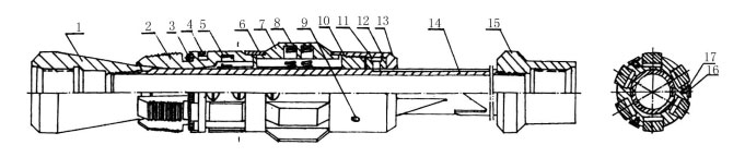
1. Cono 2. Kava 3. Resorte de aro 4. Anillo de límite superior 5. Resorte de presión interno 6. Anillo de límite inferior 7. Bloque de fricción 8. Resorte de presión externo 9. Tornillo antiaflojamiento 10. Asiento de enderezamiento 11- Pasador del anillo deslizante 12- Anillo deslizante 13- Anillo de soporte 14- Tubo central 15- Junta inferior 16- Tornillo de fijación 17- Junta
2. Anclaje de tubería de aceite hidráulico
- Fije la tubería de aceite mediante principios hidráulicos. Los anclajes de tubería de aceite hidráulico se fijan generalmente mediante cilindros o pistones hidráulicos y son adecuados para condiciones de trabajo complejas o de alta presión.
Constan principalmente de las siguientes partes: junta superior, conjunto deslizante, tubo central, pistón, dispositivo de bloqueo, junta inferior, etc. Presione la abrazadera para extenderla, bloquee el mecanismo de bloqueo, ancle la columna de la tubería y levántela al soltar la abrazadera.
DIRECCIÓN:Habitación 616, Fortune Plaza, Yungang Road, Zona Económica de Aviación
Teléfono:+86 156 1779 7655
Teléfono:+86 371 85304855